
Few words strike such fear in people. However, most of that fear is due to nearly complete ignorance of radiation. Like the old adage says, "Fear of the Unknown" is the worst fear. Thus, to give you the knowledge to better understand radiation, I have created the following web page. With knowledge of radiation you will lose the irrational fear and gain respect, awe, caution, and hopefully, desire to harness this ubiquitous facet of living.
Radiation existed before life on Earth did. It is largely responsible for genetic mutations, and is thus the reason primitive life became more complex. Although believers in various religious myths (e.g., Christian Fundamentalists) often attack evolution, the ability of organisms to mutate provides the mechanism by which differentiation can occur. We are here due to radiation's mutations and the subsequent evolutionary processes that "built us". Opposition to radiation, despite most of it coming from nature itself (see below), is often of an irrational, religious nature.
Would you ask someone, "Are you for or against fire?" Almost certainly not. Fire is one of our greatest discoveries and since we are intimately familiar with fire, the question is absurd. Our lack of knowledge about radiation and nuclear topics in general cause us to ask the absurd question, "Are you in favor or opposed to nuclear energy (fire!)?" Nuclear energy is not going to go away, and here is the reason:
Nuclear Energy gives over a million times the energy of any other fuel you could imagine. Nature never gives humans advances that are 1000000 times more. Nuclear is here to stay, so get used to it and learn it!
Materials which are radioactive are due to the instability of some isotopes which make up the elements in the material. Isotopes are the same element, which means they have the same number of protons, and therefore electrons and thus have virtually the same chemical and physical properties. Isotopes differ in how many neutrons they have, which greatly changes their nuclear characteristics, of which nuclear stability is just one characteristic. Isotopes are stable in only a narrow range of proton and neutron combinations (ratios), where there are more neutrons than protons, but not too many more or too few. The stable and unstable (radioactive) isotopes are well known & are often displayed on graphs plotting the ratio of protons to neutrons and indicating if the isotope is stable {e.g., Page 9 of "Nuclear Reactor Engineering", Glasstone (1981) has such an example.} Isotopes outside the narrow proton/neutron ratio range are unstable and decay at a specific (and exactly known) rate. The decay involves a transformation of the nucleus (usually a "Transmutation" of one element into another) so as to either turn too many protons into more neutrons (positron emission or electron capture) or too many neutrons into more protons (beta particle emission or, more rarely, neutron emission), and the emission of characteristic radiation(s). The other cause of nuclear instability is if the nucleus is too big (the "Heavy Elements", or Actinides) to stay stuck together. These isotopes decay by alpha emission (see below).
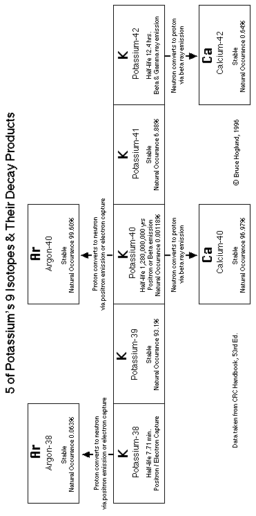
Below is an example diagram of how 5 out of 9 Potassium isotopes radioactively decay (transmute) into other element's isotopes (Argon & Calcium's). Note the unusually long lived Potassium-40 (K-40) with a half-life of 1.28 billion years! It existed before the earth was even born (~4.5 billion years ago), and therefore has been irradiating life since it began! It is responsible for about 14% of your natural radiation dose. Ref. pg. 590

The time it takes for half of the material to decay is called the half-life, and it is inversely proportional to the decay rate, i.e., the quicker the decay rate, the shorter the half-life. The half-life is related to the decay rate by the following formula:
t1/2 = ln 2/lamda is approximately equal to: 0.6931/lamda
or,
lamda = ln 2 / t1/2 is approximately equal to: 0.6931 / t1/2
Where;
t1/2 is the halflife of the material
lamda is the decay constant or decay rate
0.6931 is the approximate value of the natural log of 2 (ln 2)
The amount of the radioactive material at any time is given by:
Nt = N0 * e(-lamda * t) = N0 * e(-(ln 2 / t1/2 ) * t)
The two most dangerous fission products in nuclear wastes are strontium-90 (Sr-90) and cesium-137 (Cs-137). Their intermediate half-life (long enough to be significant storage materials yet short enough to release their radiation energy fast enough) combined with their high energy release cause them to account for about 98% of the radioactive hazard after 10 years of storage.
They both have similar half-lives of about a human generation; Sr-90's half-life is 28 years and Cs-137's is 30 years. This means after just storing these materials for a human generation (30 years), 50% of them will be gone. Actually, they will not cease to exist, they will transmutate into other elements. Cesium-137 becomes Barium-137 when one of cesium-137's neutrons becomes a proton by emitting a beta particle. The same process occurs with Strontium-90, which becomes zirconium-90. Both barium-137 and zirconium-90 are stable elements and thus no more radiation is emitted from those atoms.
A table with the above information on cesium-137's decay is below:
|
Time (in Years) |
Number of Half-lives |
Amount |
|---|---|---|
|
|
|
100.000 |
|
|
|
50.000 |
|
|
|
25.000 |
|
|
|
12.500 |
|
|
|
6.250 |
|
|
|
3.125 |
|
|
|
1.563 |
|
|
|
0.781 |
|
|
|
0.391 |
|
|
|
0.195 |
|
|
|
0.098 |
A table with the above information on strontium-90's decay is below:
Time |
Amount |
|---|---|
|
|
|
|
0.0 |
2000.00 |
|
28.1 |
1000.00 |
|
56.2 |
500.00 |
|
84.3 |
250.00 |
|
112.4 |
125.00 |
|
140.5 |
62.50 |
|
168.6 |
31.25 |
|
196.7 |
15.63 |
|
224.8 |
7.81 |
|
252.9 |
3.91 |
|
281.0 |
1.95 |
|
309.1 |
0.98 |
|
337.2 |
0.49 |
|
365.3 |
0.24 |
|
393.4 |
0.12 |
|
421.5 |
0.06 |
|
449.6 |
0.03 |
|
477.7 |
0.02 |
|
505.8 |
0.01 |
|
533.9 |
0.00 |
Background radiation is the radiation you receive every day. It comes from the naturally occurring materials in your body, in the ground, in the materials that make the building you are in, and even from highly radioactive space above {"Cosmic rays"}. As you might imagine, the radiation dose each person receives is highly variable depending upon where and in what do you live. The internal radiation is mainly from Potassium-40, which is one reason why I used potassium for the chart above. Below are 2 charts which give your approximate amount of radiation from each source:
|
|
|
|
Cosmic Rays (sea level) |
30 1 |
|
Natural radioactivity |
|
|
100 |
|
50 |
|
Total |
180 |
2. From uranium, thorium and associated decay products in the earth's crust or atmosphere.
3. From potassium-40 [K-40, or sometimes K40], radium, and its decay products, and carbon-14 (C-14) in the body.
A more recent Background Radiation Table:
|
|
|
|
|
External Sources |
|
|
|
Cosmic Rays (sea level) |
|
40 millirems sea level 80 millirems at 2000 m (6600 ft) |
|
Uranium & Thorium (& their decay [daughter] products) & potassium-40 in air, soil, & building materials |
|
15 to 35 millirems East Coast 75 to 140 millirems in Colorado2 |
|
Internal Sources |
|
|
|
|
K-40 is 0.012% of the 0.25 kilograms of potassium (K) in your body |
|
|
Constantly being naturally produced |
|
Total |
|
|
2. Colorado Plateau is known for its soil's high uranium content.
Additional NOTE: Exposure from Cosmic Rays causes an aircraft passenger at 10,000 meters (33,000 feet) to receive an additional 0.7 millirem per hour; a coast to coast US flight will thus give you ~3 millirems.pg 590, ibid.
As you can see, there is a great variation between the two Tables. This happens because there is great variation in natural radiation doses; the radiation reading greatly depends on where and when. The world's highest background radiation is in Kerala, India with 1,300 millirems per year (13 times higher than above!) due mainly to the large amount of thorium in the area.
There are 3 basic types of radiation that interact with matter (you and everything else that is real and is not energy), and thus gives radiation damage:
|
|
|
|
|
A fast traveling helium-4 nucleus without electrons; consists of 2 protons & 2 neutrons. |
A fast (very high energy) electron traveling near the speed of light. |
A very high energy (high frequency) photon. |
Alpha particles are emitted mainly by the heaviest of the isotopes (e.g., all elements above bismuth (Bi-209) are radioactive, and most are alpha particle emitters. These nuclei are too big to be stable and decay by emitting an alpha particle. Very often the resulting nucleus, called a "Daughter nucleus", is also too big and unstable. It too usually emits an alpha particle. This process can happen a number of times depending upon the starting isotope and the ultimate stable isotope. The stable isotope of the alpha emitters is usually lead (the element just below Bismuth, and has 4 stable isotopes for the "Decay Chains" to stop on). For example, the most abundant isotope of uranium, U-238, it takes the emission of 5 alpha particles to get to stable lead.
Alpha particles are high speed helium atoms without electrons. Consisting of a nucleus of 2 protons and 2 neutrons, this is the largest common (naturally occurring) radiation particle. Since there are no electrons, the alpha particle is highly electrically charged. The high positive charge causes the alpha particle to interact, and thereby be slowed down, by the electrons that surround all the normal uncharged matter that make up most of our world and ourselves. Alpha particle interactions with the electrons are relatively violent events however, and the resulting disruption of the electrons often destroys any chemical bonds they may have. In metals the electrons are easily shared between the atoms and there is little to no disruption of the metal atoms or their arrangements. Thus, metals are relatively unaffected by alpha particles. In chemical compounds where electrons are shared in definite bonds, such as water (H2O), the alpha particle often breaks the bond between two atoms producing "ion-pairs". These bonds are often not immediately repaired, if ever, and thus the material is chemically changed. Furthermore, the now loose ends of the atoms which had been once tightly bonded are now "seeking" other bonds, and are called "radicals", which are very chemically reactive. In water, alpha particles cause the water in its path to dissociate into its elements; the 2 gases, hydrogen & oxygen. The amounts are very small and often large percentages recombine back into water, so do not think this is an easy way to produce hydrogen fuel!
Alpha particles, due to their large size and charge, travel a small distance before they are stopped. The distance they travel is determined by their energy (which is also a measure of their speed) and the density of electrons they must pass, since electrons are the primary 'friction' they encounter. This 'friction' produces the ion-pairs, at a rate of 5 - 10 x 106 ion-pairs per meter of air. Pg49 The density of the electrons is determined by the atomic number of the atoms (which is the number of electrons around each element) and how closely the atoms are packed together. Both of these factors are accounted for in a measurement of the material's "stopping power". Below is a chart of various materials and their stopping power, and the subsequent distance a fairly energetic alpha particle (the nuclear bomb material Plutonium-239's alpha particle) would travel in it.
|
|
|
|
|
Air |
|
|
|
Water |
|
|
|
Paper, or animal tissue |
|
|
|
Aluminum |
|
|
|
Lead |
|
|
It can be seen that alpha particles are easily stopped by human skin or a sheet of paper (or clothing). To suffer damage from alpha particles, the alpha emitter (radioactive material must be internal). This most likely would happen if the radioactive material is inhaled or eaten. This is happening to you now, unless you are on a nuclear submarine. Radon (see, "Other Good Readings on Radiation on the Internet" below) is in the air around you. It comes from the uranium and thorium that is in the ground and building materials all around you. Ironically, nuclear energy destroys uranium and thorium, and in the long term lowers the radiation on Earth.
Most of the 1,200, or so, known radioactive isotopes emit beta particles. So to does most of the fission products, which is the material that results when a nucleus is fissioned and the energy released.
A beta particle is a high speed (near the speed of light), high energy electron. Lower speed and energy electrons are shot out of the "electron gun" onto a television or computer monitor, and it is their impact upon the phosphors (the little light dots on the screen; pixels) that cause the image to form. These free traveling electrons are similar to radioactive ones except their speed and energy is much lower and beta particles are emitted in all directions from the radioactive material.
Beta particles are the result of a neutron decaying into a proton and electron within an atom's nucleus. The reason for the decay is that the nucleus has too many neutrons to be stable. Nuclei are stable in a fairly narrow range of neutrons to proton ratios. Too many neutrons the unstable nucleus emits a beta particle when the excess neutron becomes a proton. When there are too few neutrons, the nucleus absorbs an electron (electron capture, or anti-matter electron, a positron is emitted) and a proton becomes a neutron.
Beta particles, unlike alpha particles, are emitted in a broad energy range (continuous spectrum) up to a definite maximum for the originating isotope. This is because when beta particles are emitted so are neutrinos (interesting particles that rarely interact with matter; they pass through the entire Earth or sun with no problem, but that is another story!), and the neutrino usually carries away 2/3 of the energy with the beta particle carrying the remaining 1/3. Beta particles have a much lower "Specific Ionization" than alpha particles; 3 - 30 x 103 ion pairs per meter in air, about a factor of 1000 less (alpha particles produce 5 - 10 x 106 ion-pairs per meter of air). Pg52 & Pg49 Also unlike alpha particles, beta particles do not have a fixed range in any given material, due to their continuous energy spectrum and their lower mass which allows them to scatter more easily. Beta particles low mass and low specific ionization (energy loss or 'friction') gives them far greater range than alpha particles in any material. Below is a table illustrating the beta particle's range in air depending upon energy. Although the values are much higher than alpha particles, note that the maximum range of an unusually high energy (3 MeV) beta particle is only 5.3 mm (0.21 inch) in concrete due to concrete's much higher electron density than air. Pg55
|
|
|
|
|
|
|
|
|
|
|
|
|
|
|
|
|
|
There are about 7700 beta particles emitted in your body each second from the naturally occurring Potassium-40 (K-40) that is a 0.012% part of the 0.25 kg (0.55 pounds) of potassium that is a part of you. (Back) Pg45
Electromagnetic radiation is "photon" particles exactly similar to radio waves, light, ultraviolet, and x-rays, but at a far higher frequency and energy. Unlike other electromagnetic radiation which results from movement of electrons or ions, gamma radiation originates from the "excited" nuclei shedding excess excitation energy. The energy range of gamma photons is stated to be 0.1 to 10 MeV. Pg47 As a practical matter, x-rays are often considered (and grouped together) to be low energy gamma radiation despite their non-nucleus origins. Since gamma is essentially 'high energy light', it travels at the speed of light 300,000,000 meters per second (186,000 miles per second).
Gamma Radiation's interaction with matter is more complex than the relatively simple collisions alpha and beta particles have with matter's electrons. However, a few simple statements can be made about gamma radiation:
Gamma radiation is "attenuated" by the following mechanisms in matter, all of which become more effective with increasing atomic weight (or atomic number):
Gamma radiation interactions' with matter greater complexity is beyond the scope of this page's explanation. Most basic nuclear texts have excellent coverage of gamma radiation and its interactions with matter.
About 1,200 radioactive isotopes have been produced in all the known elements via bombardment by particle accelerators (e.g., cyclotrons, linear accelerators, etc.), by neutrons in nuclear reactors, or from fission products. Pg39
Most naturally occurring radioactive materials emit a large amount of radioactive energy in the form of alpha particles and some gamma rays (electromagnetic radiation) and are very long lived. Most artificial (fission products from nuclear reactions) emit beta rays and some gamma rays, but are much shorter lived and emit less energy than the naturally occurring radioactive substances. All radioactive materials always become stable, non-radioactive materials; all it takes is time. Ironically, due to the inverse nature of the decay rate to the length of time to decay (e.g., half-life) the more radioactive the material the quicker it is gone!
When a charged particle such as an alpha or beta particle moves through matter, ionization results and thus this type of radiation is called "Ionizing Radiation". Ionization is the removal of an electron from its orbit around a nucleus thereby creating an "ion pair"; the now wandering electron and its positively charged ion, since it is missing the electron to make it uncharged. An ion is the atom with either too many or few electrons. The number of ions formed (intensity of ionization) by the passage of the radiation is called, the "specific ionization". Large, slow moving, and highly charged particles, such as alpha particles, create the most ionization, while less charged, much faster and lighter particles, such as beta particles, create much less ionization. "In their passage through air at atmospheric pressure, alpha particles produce approximately 5 to 10 x 106 ion-pairs/m, whereas beta particles of similar energy form about 3 to 30 x 103 ion-pairs/m of path." P49
Tearing apart chemical bonds was once thought to be a way radiation could promote chemical reactions on an industrial scale. Although they can, the cost of the intense radiation required and the competition (Opportunity Costs, to Economists!) with more conventional chemistry manipulations such as temperature, pressure, and catalysts, make radiation induced chemistry a rare method. Of far more practical interest is radiation's ability to kill bacterial and destroy viruses. The practical application of which is the irradiation of foods. Unfortunately, it is again the irrational fears of radiation that prevent the great benefit of irradiated foods economical protection against known and well publicized food borne illnesses and deaths.
Today, with the much higher Cancer and general Health concerns the population has, it is radiation's ability to disrupt the chemical bonds in biological systems and the yet unknown mechanism that allows cancer to sometimes form from some of those broken bonds. Eliminate cancer like Smallpox has been eliminated and you eliminate all fear of radiation. The "Radiation Dose" is a measure of the energy deposited in material (Good article on subject is "Health Professionals Taskforce..., below"). It depends upon the number and type of radiation particles (see above), their energy, and the material they are traveling through. Measures of radiation doses are the most convenient and accurate ways we have of determining (guessing would be a better term!) of the radiation effect upon the material. These doses are then statistically correlated with measured cancer and illness rates to attempt to determine the harmful effects and provide regulatory guidance. However, in practice this scientific method is fraught with great difficulties due to the fact that "natural" radiation doses are far higher than most human technology caused ones and illnesses arise from a variety of other outside and internal causes. Attempts to correlate radiation with illnesses are similar to difficulties in correlating chemical exposures with the added difficulty that radiation is naturally everywhere and highly variable. One of many good illustrations of the reasoned disagreements even between experts that arise given the inexact nature of radiation statistical studies is given by, the journal article Health Professionals Taskforce: ENVIRONMENTAL RADIONUCLIDES. {NOTE: You will have to hit the "Back" button on your browser to return to this page.}
Does radiation cause cancer? Most everyone will say, 'Yes'. The problem, despite such broad agreement, is disagreement on how likely, or how much cancer does a given amount of radiation cause. The only way we have of answering such a question is by statistical studies where counts of cancer are made in selected populations. The problem is, there are numerous factors that influence the development of cancer and numerous different causes. Radiation is only one of those factors. Most ironic is radiation's ability to kill cancer. It does this because it kills fast growing cells more readily than slowly growing (most normal) cells. Cancer is really nothing more than unconstrained, rapid cell growth, thus radiation is one of the most effective means of treating cancer. Since hair, stomach, and red blood cells are also rapidly growing cells, these are also most effected by radiation, and is why very large lethal and near lethal acute doses cause hair loss, vomiting (stomach cells), and anemia (red blood losses).
You have probably heard that old joke, 'There are lies, damn lies, and then there are STATISTICS!', well, that is the joke about radiation; its truth is buried in statistics so even those who specialize in the subject, can not agree. However, an interesting observation is made in Cohen's excellent book {Chapter 5, "How Dangerous is Radiation", "The Nuclear Energy Option: An Alternative for the 90s" by Bernard L. Cohen (1990)}; Americans who live in high radiation areas often live longer and have lower cancer rates than those living in lower radiation zones. This interesting observation does not cause me to think low radiation levels are beneficial, but I do believe it illustrates the "noise" inherent in the statistical data and demonstrates that low levels of radiation are not significant health factors; either good or bad.
Here's the last joke on this page: the place where you would probably get the least amount of radiation is on a nuclear submarine! (NOTE: You will have to hit "Back" on your browser to return here) The funniest thing is, this is no joke, it is true! This is a fact, as it can be measured and verified. The reason behind this seeming contradiction is that on a nuclear submarine you eliminate most of the radiation by eliminating the rather large dose from soil and space, which exceeds any other source, including human caused sources. The remaining radiation comes mainly from what people are made of (carbon-14, potassium-40, and other trace materials) with a fairly small amount from the onboard nuclear reactor. Another fact is radiation existed long before life did. You might even say that radiation created humans as it may have been the primary cause of the necessary mutations to achieve evolutionary organism change. Of course the creationists will argue this, but they never let truth interfere with their beliefs!
Oh, and I lied above; there is one more joke (funny because it is true too!):
Burning Coal Releases Far More Radiation Than Nuclear Plants Do!
Check out the US Department of Energy's (DOE) Oak Ridge National Laboratory (ORNL) publication called the "ORNL Review" with the excellent article by ORNL's Alex Gabbard called, "Coal Combustion: Nuclear Resource or Danger".
At the Internet location:
Coal Combustion at http://www.ornl.gov/ORNLReview/rev26-34/text/colmain.html, 27.9k
The U.S. Department of Energy (DOE) explanation. of RADIATION
Contains surprising fact of highest natural (background) radiation on Earth is over 3.5 times higher than average USA readings in Kerala, India; higher than the Chernobyl area! (Back)
U.S. Geological Survey's Energy Resource Surveys Program's
"Nuclear Reactor Engineering", 3rd Ed., Samuel Glasstone & Alexander Sesonske (1981).
Page 39 Radioisotopes (Back)
Page 45 Calculation of Potassium-40's Beta Particle Emission Rate (Back)
Page 47 Gamma Radiation (Back)
Page 49 Radiation's Ionization
Page 51 Stopping power information and Pu-239's alpha particle energy
Page 52 Beta Particles (Back)
Page 54 Table of Beta Particle Ranges in Air & Fission Products' Beta Particle Characteristics (Back)
Page 55 Estimate of Beta Particle's Range in Concrete (Back)
Page 590 Table 9.7. "ANNUAL AVERAGE WHOLE BODY DOES FROM NATURAL RADIATION IN THE UNITED STATES" (Back)
These are just 2 (partial) articles of many on the subject of food irradiation:
"Irradiation Of Beef Urged", AP Online (AP 07/14 00:56 EDT V0522, Copyright 1994. The Associated Press. All Rights Reserved.)
WASHINGTON (AP) -- Experts seeking to protect Americans from powerful food-borne bacteria that killed four people and sickened 700 others last year recommend that some hamburger meat be treated with sterilizing radiation. ... BACK
"USDA Wants Beef Irradiation OK", AP Online (AP 02/24 14:08 EST V0593, Copyright 1994. The Associated Press. All Rights Reserved.)
WASHINGTON (AP) -- Agriculture Secretary Mike Espy Thursday said his department will seek permission to have beef and other red meat irradiated to kill harmful bacteria.
[snip]
The department says the department can kill virtually all harmful bacteria that escape inspection such as the type known as E. coli O157:H7. Combined with thorough cooking and proper handling of raw foods, irradiation could solve many problems with bacterial contamination.
However, the poultry industry has declined the embrace the process, even though it has been approved for chickens, turkeys and other fowl since 1990. The industry cites concerns with consumer rejections. (emphasis added)
So far only a few stores sell the irradiated poultry, which is treated at the Vindicator Inc. plant in Plant City, Fla. ... BACK
Food Irradiation Today, 101k
Food Irradiation, 74k
MDS Nordion .. History of Food Irradiation, 21k
Visions - Volume 4, Number 2 - c, 1993, 14k
Irradiating Ground Beef To Enhance Food Safety, 24k
Facts about Food Irradiation, 8k
Food Irradiation - Is Now The Time?, 9k
F&N Digest -- January/February 1994, (Only a short article about food irradiation), 56k
The following was taken from page 112, "The Atomic Energy Deskbook", by John F Hogerton, Reinhold Publishing Corporation, New York, 1963, Library of Congress Card Number 63-13445, R 541.2 H:
"COSMIC RAYS"
"Due, however, to the absorption of primary cosmic rays in the upper portion of the earth's atmosphere and to attenuation of secondary cosmic rays, the level of cosmic radiation falls off sharply as one approaches the earth's surface. At the latitude of New York City, for example, the intensity (measured as ions per cubic centimeter per second) at 40,00 feet above sea level is 19 times that at 10,000 feet above sea level. This explains why background radiation tends to be higher at higher elevations." Back
Journal, "Health Professionals Taskforce: ENVIRONMENTAL RADIONUCLIDES", Volume 2 Issue 1, October-December 1996 Back
PBS ( Public Broadcasting Service) had an Excellent Television documentary and has a Web Site:
Washington Post, Monday, April 14, 1997; Page A03, "Atomic Split: Data Recharge Debate on Low-Level Radiation Risk" {Warning: Broken Link}, By Joby Warrick (Washington Post Staff Writer).
"The statistics seem clear and compelling, and completely at odds with common sense: In Japan, site of the world's only nuclear attacks, radiation victims are outliving their peers.
It's one of the stranger twists in 50 years of scientific monitoring of atom bomb survivors. As expected, the people closest to ground zero have died in high numbers of cancers that began in a white-hot flash of nuclear radiation. But as one moves farther from the blast site, the death rate plunges until it actually dips below the baseline. ..."